
បើនិយាយអំពីកាមេរ៉ា Periscope Lens នៅពេលនេះ គឺត្រូវបានប្រើប្រាស់នៅលើស្មាតហ្វូន Flagship Android ជាច្រើននៅលើទីផ្សារក្នុងពេលបច្ចុប្បន្ននេះ។ ដោយសារតែសមត្ថភាពដ៏ខ្លាំងក្លានៃ Lens នេះហើយ គឺបានធ្វើអារម្មណ៍អ្នកគាំទ្រជាច្រើនមានក្តីសង្ឃឹមថា iPhones ជំនាន់ក្រោយ ក៏អាចនឹងបំពាក់នូវកាមេរ៉ា Periscope lens នេះផងដែរ។ កាលពីប៉ុន្មានថ្ងៃមុននេះ មានរបាយការណ៍ជាច្រើន បាននិយាយថា iPhone ដែលបង្ហាញវត្តមាននាពេលខាងមុខនេះនឹងបំពាក់នូវកាមេរ៉ាថ្មីនៅក្នុងប៉ាតង់មួយ។
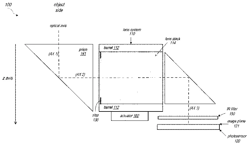
នៅក្នុងប៉ាតង់នេះ បាននិយាយថា iPhone ដែលនឹងបង្ហាញខ្លួននាពេលខាងមុខនេះ គឺនឹងមានការបន្ថែមនូវ Leriscope Lens ដែលអ្នកនិយមលេងនៅលើអ៊ីនធឺរណិតជាច្រើនចង់បានពិតមែន។ មានការសួរនាំថា តើនេះគឺជាស្មាតហ្វូន iPhone 14 មែនទេ? នៅក្នុងប៉ាតង់មួយឈ្មោះហៅថា “Folding Camera” គឺមានការអនុម័តដោយការិយាល័យប៉ាតង់ និងម៉ាកសញ្ញាពាណិជ្ជកម្មរបស់សហរដ្ឋអាមេរិក។ ប៉ាតង់នេះអាចពង្រឹងទៅលើ imaging effects កាន់តែប្រសើរជាងមុន។ បន្ថែមពីនេះទៀតនោះ សម្រាប់រូបរាង សមាសភាគនៃ Lens នេះគឺមានសមត្ថភាពនៃ Focal Length ដែលអាចផ្តល់នូវកម្រិតភាពច្បាស់ល្អជាងមុន និងរូបភាពកាន់តែប្រសើរជាងមុនថែមទៀត។

របាយការណ៍នេះ បានបញ្ជាក់ថា ប៉ាតង់នេះនឹងប្រើប្រាស់នៅក្នុងឆ្នាំ 2022 នេះ។ បច្ចេកវិទ្យានេះនឹងប្រើប្រាស់នៅលើ iPhone 14 ជាមួយនឹង 100x zoom ផងដែរ។ បើនិយាយអំពីកាមេរ៉ា Periscope ប្រហែលជារឿងថ្មីសម្រាប់ស្មាតហ្វូន iPhone ខណៈពេលដែលវាមិនមានអ្វីប្លែកនោះទេសម្រាប់អ្នកប្រើប្រាស់ Android ។ វាបានប្រើប្រាស់នៅលើស្មាតហ្វូនជាច្រើនដូចជា Huawei P40 Pro Series, Samsung Galaxy S20 Ultra និង Xiaomi Mi 10 Extreme Commemorative Edition ដែលសុទ្ធតែប្រើប្រាស់នូវ Periscope Lenses ៕
