
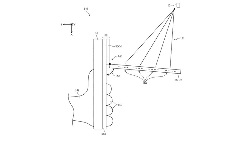
កាលពីឆ្នាំ 2024 កន្លងទៅនេះ ក្រុមហ៊ុន Apple ត្រូវបានគេមើលឃើញថា បានស្នើរធ្វើការចុះបញ្ជីទៅលើបច្ចេកវិទ្យាថ្មី "Electronic Device និងស្រោមការពារថ្មីដែលមានភ្ជាប់នូវប្រព័ន្ធ Satellite Communication"។ យោងតាមព័ត៌មានថ្មីនៅថ្ងៃនេះ បានបង្ហាញច្បាស់ពីផលិតផលថ្មីៗទាំងនេះហើយបើតាមការបញ្ជាក់ក្នុងរបាយការណ៌នេះ អោយដឹងថា ស្រោមការពារថ្មីនេះ នឹងមានសមត្ថភាពខ្ពស់ អាចធ្វើការភ្ជាប់ទៅកាន់ប្រព័ន្ធ Satellite connectivity បានយ៉ាងរលូន។
ប្រភពខាងលើនេះ បន្តថា ស្រោមការពារនេះ នឹងមិនត្រឹមតែមានសម្រាប់ iPhones នោះទេ សូម្បីតែ iPads ក៏មានមកជាមួយផងដែរ។ ដូចអ្វីដែលមានអ្នកបានឃើញអញ្ចឹង ស្រោមការពារថ្មីនេះ គឺមានផ្នែកមួយអាចធ្វើការបើកចេញបានសម្រាប់តរភ្ជាប់ទៅកាន់ទៅលើផ្ទៃមេឃដើម្បីភ្ជាប់ជាមួយនិងរលកសញ្ញាប្រព័ន្ធផ្កាយរណប។ ជាមួយនិងការប្រើប្រាស់ស្រោមការពារថ្មីនេះ គឺដូចគ្នាទៅនឹងស្រោមការពារដែលលោកអ្នកធ្លាប់ប្រើប្រាស់កន្លងមកអញ្ចឹង គឺអាចតម្លើងដោយខ្លួនឯង ហើយនឹងអាចដកចេញដាក់ចូលបានដោយមិនមានការទាមទារលក្ខ័ណ្ឌអ្វីនោះទេ។

គួរបញ្ជាក់ផងដែរ បើមើលទៅលើការស្នើរសុំប៉ាតង់សម្រាប់ផលិតផលថ្មីនេះ គឺមានការបញ្ជាក់ថា ក្រុមហ៊ុន Apple បានធ្វើការភ្ជាប់ និងការបញ្ជូនទិន្នន័យពីស្រោមការពារថ្មីនេះទៅកាន់ប្រព័ន្ធផ្កាយរណប តាមរយៈនៃការប្រើប្រាស់នូវ radio-frequency connector" ឬ មធ្យោបាយមួយចំនួនទៀតដូច NFC។ ទាក់ទងនឹងព័ត៌មាននេះ អ្វីដែលគ្រប់គ្នាគួរតែតាមដាននោះ គឺកន្លងមក ក្រុមហ៊ុន Apple តែងតែបានចុះបញ្ជីផលិតផលថ្មីៗជាច្រើនសំបូរបែប ប៉ុន្តែក្រុមហ៊ុននេះមិនបានបញ្ចេញមកច្រើនដូចការដែលខ្លួនចុះបញ្ជីនោះទេ។





